
一、隐臂式煤粉取样器产品概述
隐臂式煤粉取样器是一款用于火力发电厂正压直吹式制粉系统中送粉管道上的煤粉取样专用设备。由于此类煤粉取样器的取样管采用隐臂式设计,不工作时取样管垂直隐藏在煤粉管道外侧,避开煤粉气流对取样管的冲刷,因此得名隐臂式煤粉取样器。
制粉系统中磨煤机在日常运行中,研磨件的磨损,研磨的煤种、块度的变化,使磨碎煤粉的细度产生较大的变化,直接影响锅炉燃烧效率,增加发电成本,因此需要定期对煤粉细度进行取样检测。当煤粉细度超过设计值时,及时调整、更换磨煤机研磨件或调整分离器折向门开度,以实现煤粉细度达到设计要求。
二、隐臂式煤粉取样器产品结构及特点
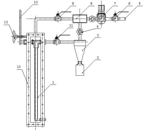
隐臂式固定煤粉取样装置外形图
如上图所示,该产品主要由1.取样管、2.取样瓶、3旋风分离器、4.连接活接头、5.进气管道、6.压缩空气控制阀、7.压缩空气调压阀、8.射器抽气器、9.吹扫阀、10.取样操作杆、11.取样阀、12.定位手轮、13.外壳体等部分组成。各部分功能如下:
1、取样管—伸入煤粉管道中,取样口朝向煤粉气流来向,煤粉由此进入取样装置。取样为多点取样。
2、取样瓶—将旋风分离器分离出的煤粉样品集中存放,供标定用。
3、旋风分离器—将气粉混合物进行固气分离,煤粉因重力作用被旋转气流甩到器壁,再靠重力作用落入积粉器。分离后的气体沿中间路线上升顶部,从顶部出气口排出,经射器抽气器抽吸重新送入煤粉管道,实现煤粉和气体的分离。
4、连接活接头—以便组装时方便。
5、进气短管—接压缩空气用。
6、压缩空气控制阀—控制压缩空气的开关。
7、压缩空气调压阀—调整此阀,可控制压缩空气的压力流量,控制取样的速度。使其实现等速取样。
8、射器抽气器—用压缩空气作为动力,使取样管、旋风分离器、取样瓶产生负压,让煤粉顺利进入旋风分离器中进行固气分离。
9、吹扫阀—压缩空气进入煤粉管道经过此阀。
10、取样操作杆—操作此杆可以将取样管展开或隐藏。
11、取样阀—开关此阀可以控制取样或吹扫取样管,以防取样管堵塞。
12、定位手轮—进行固定作用。
13、外壳体—安装在煤粉管道上,不取样时取样管隐藏在其中。
此类产品是利用压缩空气为动力,使取样管、分离器、取样瓶产生负压来抽吸煤粉达到取样目的,并可利用压缩空气吹扫取样管避免取样管堵塞的问题。设备上备有压缩空气调压阀,可通过该阀调整压缩空气的压力、流量来控制取样速度和实现等速取样。使取出的煤粉具有代表性。取样管采用藏臂式设计,不工作时取样管垂直隐藏在煤粉管道外侧,避开煤粉气流对取样管的冲刷,大幅度的提高取样管的使用寿命。
三、隐臂式煤粉取样器工作原理
1、取样工作原理 固定煤粉取样器是利用负压抽吸和旋风分离原理将气粉混合物从煤粉管道中抽吸出并进行固气分离而研制成功的。取样过程中,取样管为展开伸入煤粉管道中,所有阀门为开启状态,当压缩空气从出气管道经过射器抽气器,其射流作用必然导致旋风分离器、取样管、取样瓶等部件产生负压,促使煤粉管道中的气粉混合物沿取样管进入取样装置,气粉混合物在旋风分离器中进行固气分离,分离出的煤粉落入旋风分离器下面的取样瓶中,气体则被压缩空气抽吸从新送如煤粉管道中,整个操作过程对工作场所不产生污染。取样前对压缩空气调压阀进行调整,可实现等速取样,使取出的煤粉样品具有代表性。(压缩空气压力一般不超过0.1Mpa)。
2、防堵措施 设备使用过程中可以用压缩空气对取样管进行吹扫,防止取样管被煤粉堵塞。
3、防磨措施 不取样时,取样管隐藏在外壳体中,置于煤粉管道外。取样时扳动取样操作杆,将取样管展开于煤粉管道中,取样口对着煤粉气流来向,开启所有阀门开始取样。取样完毕,扳动取样操作杆将取样管隐藏在外壳体中置于煤粉管道外,避免煤粉气流对取样管的冲刷,达到防磨目的。
四、隐臂式煤粉取样器操作程序
1、取样过程 取样前所有阀门为关闭状态,首先开启压缩空气控制阀6;根据压力表显示调整压缩空气调压阀7将压缩空气压力调节到所需压力范围(0.05-0.1MPa)(调节调压阀时先要将调压阀上不的旋钮拔出按顺时针拧为增大压力,反之减少,调到所需的压力后在按下旋钮即可);扳动取样操作杆10;将取样管展开与煤粉管道中;开启吹扫阀9;开启取样阀11,对取样管进行吹扫(建议每次取样结束后都要进行一次吹扫);吹扫时间(1-2分钟);取样开始,取样2~4分钟;取样结束,关闭压缩空气控制阀6、吹扫阀9、取样阀11;扳动取样操作杆10;将取样管隐藏在外壳体13中;取下取样瓶2;将煤粉样品取出并将取样瓶放回原处注意接口处的密封。整个取样过程结束。
2、吹扫过程 开启压缩空气控制阀6;关闭吹扫阀9;开启取样阀11;压缩空气将通过取样阀11对取样管进行吹扫。
五、隐臂式煤粉取样器性能特点
1、产品整体采用不锈钢制作,外观整洁小巧,整体使用寿命长。
2、结构简单,无机械运动元件,免维护。取样简单方便,
3、采用多点、等速取样,取出的煤粉样品具有代表性。
4、可采用压缩空气吹扫取样管,避免煤粉堵塞取样管。
5、固定安装在煤粉管道上,密封严实,无一丝煤粉泄漏,对工作环境不污染。
6、取样管使用时置入煤粉管道内,取完煤粉样品后可以隐藏在煤粉管道外,避免煤粉气流的冲刷,使用寿命长。
7、一人即可操作,操作人员劳动强度小。
六、隐臂式煤粉取样器安装要求
1、现场需提供0.4—0.6Mpa压缩空气。
2、该设备是垂直安装在煤粉管道的操作平台10m—15m处,在煤粉管道上开孔(长×宽)(具体尺寸按图纸尺寸)将安装法兰焊接在煤粉管道上即可。(焊接时候要考虑到变形量)
3、安装时调节阀底部的箭头必须顺着气流方向装,否则达不到取样效果。
七、隐臂式煤粉取样器订货须知
1、订货时提供煤粉管道直径、壁厚。 2、操作方式(电动、手动)。
八、隐臂式煤粉取样器产品外形图
隐臂式固定煤粉取样装置安装示意图
1、压缩空气调压阀 2、旋风分离器 3、取样操作杆 4、连接活接头 5、定位手轮 6、取样瓶
7、隐藏时的取样管 8、外壳体 9、安装法兰 10、多个取样点 11、取样时的取样管 12、煤粉管道
