
推入式煤粉取样器装置主要由推入式煤粉取样器和安装部分组成,是用于正压直吹式制粉系统一次风送粉管道上煤粉取样专用设备。
一、推入式煤粉取样器装置概述
推入式煤粉取样器装置,是用于正压直吹式制粉系统一次风送粉管道上煤粉取样专用设备。在磨煤机日常运行中,磨煤机研磨件的磨损、煤种、块度的变化,煤粉细度将产生较大的变化,直接影响锅炉燃烧效率,增加发电成本,因此定期对煤粉细度取样检测,当煤粉细度超过设计值时,及时调整、更换磨煤机研磨件或调整分离器折向门开度,以实现煤粉细度达到设计要求。
二、推入式煤粉取样器装置产品特点及结构形式
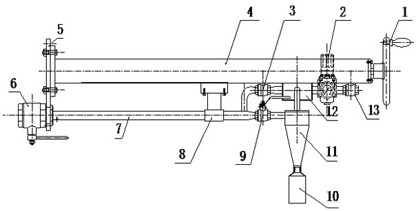
推入式煤粉取样装置主要有下列几部分组成:
1、手轮—转动手轮,传动管内的螺杆旋转,通过连接装置带动取样管来回滑动。
2、压缩空气调压阀—调整此阀,可控制压缩空气的压力流量,控制取样的速度。使其实现等速取样。
3、吹扫阀—压缩空气进入煤粉管道经过此阀。
4、传动管—固定螺杆传动装置用。
5、固定板—固定传动管、球阀等。
6、球阀—取样管由此进入煤粉管道,取完样关闭此阀门。
7、取样管—伸入煤粉管道中,取样口朝向煤粉气流来向,煤粉由此进入取样装置。取完样后退出煤粉管道。
8、连接装置—取样管和螺杆的连接,带动取样管的来回滑动。
9、取样阀—开关此阀可以控制取样或吹扫取样管,以防取样管堵塞。
10、取样瓶—将旋风分离器分离出的煤粉样品集中存放,供标定用。
11、旋风分离器—将气粉混合物进行固气分离,煤粉因重力作用被旋转气流甩到器壁,再靠重力作用落入积粉器。分离后的气体沿中间路线上升顶部,从顶部出气口排出,经射器抽气器抽吸重新送入煤粉管道,实现煤粉和气体的分离。
12、射器抽气器—用压缩空气作为动力,使取样管、旋风分离器、取样瓶产生负压,让煤粉顺利进入旋风分离器中进行固气分离。
13、压缩空气控制阀—控制压缩空气的开关。
三、推入式煤粉取样器装置工作原理
1、取样工作原理 推入式煤粉取样装置是利用负压抽吸和旋风分离原理将气粉混合物从煤粉管道中抽吸出并进行固气分离而研制成功的。取样前所有阀门全为关闭状态,取样时打开球阀13;调整压缩空气调压阀,将压力调整到合适的压力时,打开球阀6、3、9;摇动手轮1;传动管(4)内螺杆旋转带动取样管7缓缓进入煤粉管道中开始取样,取样时所有阀门为开启状态,当压缩空气从出气管道经过射器抽气器,其射流作用必然导致旋风分离器、取样管、取样瓶等部件产生负压,促使煤粉管道中的气粉混合物沿取样管进入取样装置,气粉混合物在旋风分离器中进行固气分离,分离出的煤粉落入旋风分离器下面的取样瓶中,气体则被压缩空气抽吸从新送如煤粉管道中,整个操作过程对工作场所不产生污染。取样前对压缩空气调压阀进行调整,可实现等速取样,使取出的煤粉样品具有代表性。(压缩空气压力一般不超过0.1Mpa)。
2、防堵措施 设备使用过程中可以用压缩空气对取样管进行吹扫,防止取样管被煤粉堵塞。
3、防磨措施 不取样时,取样管退出煤粉管道避开煤粉气流对取样管的磨损。取样时摇动手轮螺杆开始旋转,将取样管缓缓推入煤粉管道中开始取样,取样口对着煤粉气流来向。取样完毕,摇动手轮将取样管缓缓退出煤粉管道,避免煤粉气流对取样管的冲刷,达到防磨目的。
四、推入式煤粉取样器装置操作程序
1、取样 取样前所有阀门为关闭状态,首先开启球阀6;摇动手轮1将取样管缓缓推入煤粉管道中;开启阀门13;根据压力表显示调整压缩空气调压阀2将压缩空气压力调节到所需压力范围;开启阀门3、9开始取样,取样1~4分钟(按现场实际情况定);关闭球阀13、3、9;摇动手轮1将取样管退出煤粉管道外并关闭球阀6;取下取样瓶10;将煤粉样品取出并将取样瓶放回原处注意接口处的密封。
2、吹扫 开启球阀13;关球阀3;开启球阀9;压缩空气将通过球阀9吹扫取样管。
五、推入式煤粉取样器装置性能特点
1、产品取样管采用不锈钢制作,外观整洁小巧,整体使用寿命长。
2、结构简单,取样简单方便,
3、压缩空气可调,取出的煤粉样品具有代表性。
4、可采用压缩空气吹扫取样管,避免煤粉堵塞取样管。
5、固定安装在煤粉管道上,密封严实,无一丝煤粉泄漏,对工作环境不污染。
6、取样管使用时置入煤粉管道内,取完煤粉样品后可以退出煤粉管道外,避免煤粉气流的冲刷,使用寿命长。
7、一人即可操作,操作人员劳动强度小。
六、推入式煤粉取样器装置安装要求
1、现场需提供0.4—0.6Mpa压缩空气。
2、该设备可垂直、水平安装在煤粉管道上
七、推入式煤粉取样器装置订货须知
1、订货时提供煤粉管道直径、壁厚。
2、操作方式(电动、手动)。
八、推入式煤粉取样器装置型号说明
型号:MF-XXX,MF是推入式煤粉的代号,XX是推入式煤粉管道直径。
