
自动滤水器,自动排污过滤器设备应用领域及特点?新型提供一种多泥沙水电站用自动滤水器,自动排污过滤器,能分级先清除较大的杂物,并防止较大杂物沉降于滤网上,清除效果好。
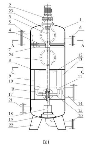
新型属于滤水设备领域,具体涉及一种多泥沙水电站用自动滤水器,自动排污过滤器,包括壳体、电机、转轴、粗滤网、进水口、粗滤排污口、旋桨、固定环板、高效滤筒、旋板、出水腔、一级出水口、挡板、污水口、排污管、轴套、隔离板、离心筒、排污仓、精滤排污口和二级出水口。
新型能分级先清除较大的杂物,并防止较大杂物沉降于滤网上,清除效果好,易于排出;小颗粒杂质清除分级处理,利用水旋流效果,使小颗粒杂质始终漂浮,不易依附于滤网上,避免多泥沙水阻塞过滤设备,提高了滤网效率,还通过离心作用快速分离,提高过滤效率,大幅提升了滤水效果,减少了排污量。所述壳体内设置有粗滤网,粗滤网下方的壳体内固定设置有固定环板,固定环板下方固定设置有高效滤筒,所述粗滤网上方的壳体上设置有进水口和粗滤排污口,所述壳体上端设置有电机,电机下方连接着转轴,转轴依次穿过壳体、粗滤网进入高效滤筒内,所述粗滤网下方的转轴上设置有旋桨,所述高效滤筒内的转轴上设置有旋板,所述高效滤筒外与壳体形成的空间为出水腔,所述一级出水口固定设置在壳体侧面,并与出水腔连通。
自动滤水器,自动排污过滤器进一步,还包括挡板、污水口、排污管、轴套、隔离板、离心筒、排污仓、精滤排污口和二级出水口,所述高效滤筒下端连接着隔离板,隔离板固定设置在壳体内,所述高效滤筒内设置有挡板,挡板上设置有一个以上的污水口,所述污水口下方连接着排污管,所述转轴内设置有空心腔,所述挡板下方的一段转轴上设置有腰形孔,所述设置有腰形孔的那一段转轴上设置有轴套,轴套通过轴承与转轴连接,所述排污管连接在轴套上,并通过腰形孔连通着转轴内的空心腔,所述转轴下端穿过隔离板连接着离心筒,离心筒下端通过轴承连接着排污仓,所述排污仓连接着精滤排污口,精滤排污口固定设置在壳体外,所述隔离板下方的壳体外固定设置有二级出水口。

自动滤水器,自动排污过滤器工作时,待过滤的水从进水口进入壳体内,同时电机带动转轴转动。旋桨随着转轴一起转动,带动附近的水形成旋流,搅动粗滤网上方的水以及其中的杂物。使较大杂物被粗滤网阻挡的同时,不会沉降在粗滤网上,而是随着水流方向旋转,并被拦截网拦截引导,终从粗滤排污口排出。而小颗粒杂质和水穿过粗滤网,进入高效滤筒内,转轴带动旋板转动,搅动筒内的水二次形成旋流,由于旋流作用,净水快速通过高效滤筒,而小颗粒杂质含量较高的水混合物从污水口进入排污管内,再通过轴套和腰形孔进入转轴的空心腔内,水混合物从空心腔落入离心筒中,离心筒随着转轴旋转,带动其中的水混合物旋转产生离心力,快速分离甩出水,而小颗粒杂质被纱布充分有效拦截,终少量的水和杂质落入排污仓,并从精滤排污口排出,而分离出的水分从二级出水口流出。自动滤水器,自动排污过滤器需要定期维护,清洗阀能清除可能依附于拦截网上的杂质,而维修阀能对滤水器内部进行整体保养维修。
自动滤水器,自动排污过滤器水电站工作时,需要向水力发电机组进行润滑水和冷却水等技术性供水。由于水电站用水多为河水,其中泥沙等杂物含量过高,长期利用河水向水力发电机组进行供水,会影响相关设备运行效果,维修困难,因此需要先过滤多泥沙河水中的杂物。传统的水电站用自动滤水器,自动排污过滤器中,较大的杂物(例如树枝、水草等)难以排出,易沉降于滤网上,清除困难;小颗粒杂质(例如泥沙)易堵塞滤网,降低滤网效率。
